专为皮卡开发!揭秘福特车顶敞篷新专利原创

2025-08-14 11:09:41 来源:中国皮卡网 作者:高梓宸

在诸多的改装方案中,车顶帐篷是许多喜欢户外露营、自驾车主们的首选。加装一款合适的车顶帐篷可以进一步地丰富户外出行体验,让车轮上的家真正触手可及。而在前不久,福特也在北美曝光了一款由其设计的车顶帐篷专利信息,那和市面上已经非常成熟产品相比,这款由官方开发的车顶帐篷都有哪些不同呢?今天我就带您一起去看看!


专为皮卡开发!揭秘福特车顶敞篷新专利


根据曝光的信息,这款车顶帐篷专利于2024年2月正式提出,2025年8月在美国专利商标局上进行了公示,福特官方将其称作“Shelter System Having Deployable Platform”,直译过来是“可以进行展开的庇护系统”,而如果更通俗一点理解的话,这个专利就是一款可以进行收折的车顶帐篷。


专为皮卡开发!揭秘福特车顶敞篷新专利


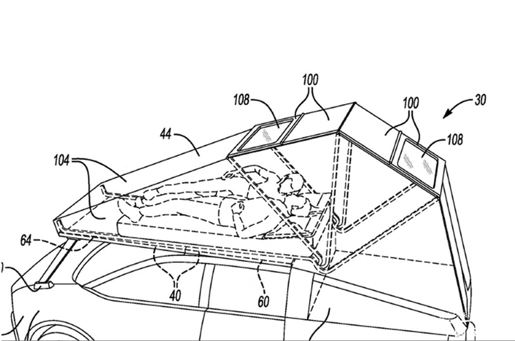
按照福特官方的说法,这款车顶帐篷是其为皮卡车型量身打造的产品,很好地利用了皮卡车型的车身优势。在完全收折的情况下,它将被固定在从车顶到后货箱挡板这一区域中,整体看起来的效果与特斯拉Cybertruck流线型的货箱盖有些类似。


专为皮卡开发!揭秘福特车顶敞篷新专利


而这样设计的好处则在于可以尽量降低车辆在行驶中的风阻,有效提高车厢静谧性与能效,并且最重要的是,不会过多影响到皮卡本身的装载能力。此外,考虑到密封性问题,福特还十分“贴心”地设计了两块侧板,其在进一步提升车辆空气动力学性能的同时也能对货箱内的物品起到更好地保护作用。


专为皮卡开发!揭秘福特车顶敞篷新专利


与市面上大多数横向展开的车顶帐篷不同,这款由福特设计的产品在打开时是沿着车头方向纵向展开,基本上可以保持与车身同宽,所以对于使用帐篷的场地几乎没有额外要求,即使在狭小的空间内也可以使用。在展开后,它则通过三根支撑杆在车顶处进行固定,而整个帐篷可以一直延伸至前挡风玻璃的位置,在最大限度上保证了车内乘员的睡眠空间。


专为皮卡开发!揭秘福特车顶敞篷新专利


在目前曝光的专利图中还向我们展示了更多细节,比如在这款帐篷上还配有两个用于通风和观察的窗口。此外尽管目前还没有任何尺寸数据流出,但通过示意图来看,该产品的纵向高度也十分可观,允许用户站在货箱内,将睡眠平台当作书桌台进行额外的一些工作。而至于产品的品控方面,相信福特也不会让广大粉丝们失望。


专为皮卡开发!揭秘福特车顶敞篷新专利


然而尽管看起来美好,但在现阶段这款车顶敞篷还处于概念状态,至于未来将会匹配福特哪款皮卡车型我们目前还不得而知。不过就以目前我们了解到的信息来看,如果这款帐篷能够与福特F-150 Lightning以及未来将发售的中型纯电皮卡进行更好匹配的话,无疑将能够更好地发挥车辆在电量储备以及外放电功率上的优势,为用户带来更加无与伦比的户外露营体验。


点赞972